1. 首頁
  2. 新聞資訊
  3. 詳細

程力灑水車使用說明書_操作使用方法_程力專汽灑水車怎么吸水抽水?


程力灑水車圖片

程力灑水車操作使用咨詢電話:

159-7276-7978

程力灑水車最新版使用說明書

程力灑水車是湖北程力專用汽車有限公司主導產品,國家發改委定點生產各類專用汽車的專業廠家。中國知名園林綠化、石油化工、市政環衛、壓力容器專用車制造商。程力灑水車產品種類齊全,供其所需,噴灑車、多功能灑水車、園林綠化灑水車、水罐車、運水車。灑水車適合于各種路面沖洗,樹木、綠化帶、草坪綠化,道路、廠礦企業施工建設,高空建筑沖洗。具有灑水、壓塵、高、低位噴灑,農藥噴灑、護欄沖洗等功能。我國各地各生產廠灑水車價格各有不同。標準配置灑水車(綠化噴灑車、水罐車):前沖后灑、側噴;高位側花灑;后工作平臺,帶綠化灑水高炮,可調節成柱狀,射程≥28m;也可調節成霧狀,射程≥15m?蛇x配藥盤、打藥機。也可加裝藥盤、藥盤泵、罐內防腐防銹、多方位進出水接頭、電磁閥、氣動閥等先進設施,以滿足不同用戶需求。

程力專用汽車股份有限公司生產的灑水車采用國內外優質二類底盤改裝而成,它適用于各種路面灑水、噴霧、降溫、除塵、沖洗塵埃贓物,亦可用于路面的灑水、噴霧、降溫、除塵、沖洗塵埃贓物,亦可用于路面養護、園林綠化及應急消防、運輸飲水等。該灑水車主要由汽車底盤、罐體、水泵、球閥和輸水管道、灑水裝置等部件組成。水泵、取力箱、球閥均為國家定型產品,性能良好,工作可靠,灑水時壓力高、流量大、油耗低,灑水時打開音樂喇叭開關,美好的音樂伴隨您愉快地工作。

一、工作原理及結構簡介:
1、灑水車結構簡圖

圖 2-1 灑水車結構簡圖

2、汽車底盤
此灑水車采用東風公司及一汽汽車集團定型二類底盤改裝而成。每個產品所采用的二類底盤,其結構詳見所附《汽車底盤使用說明書》。
3、罐體
灑水車罐體結構,罐體為橢圓形或方形,用鋼板制成,整車罐體水倉為 2-3 室,中間隔板下端有通孔,倉內隔板具有防波作用。以減低汽車行駛時罐內液體的沖擊。外表涂防銹漆及裝飾漆。
圖 2-2 水罐體
(1)封頭(2)上護欄(3)罐口(4)爬梯(5)吊耳(6)支撐(7)副梁(8)筒體 (9) 炮筒 (10) 防波隔板 (11) 量管
為了防止銹蝕,罐體外表途防銹及裝飾漆,油罐側面中間裝有容器指示計,在往油罐加油或向外輸油時,可直接指示出罐內容積。

4、罐口組件 

圖 2-3 罐口

(1)手柄(2)小蓋(3)大蓋(4)轉動銷
罐口組件:大蓋由螺栓緊固在罐口頸板上,由一個支銷和一個護板小蓋連接在一起,順時針轉小蓋之上手柄可使小蓋壓緊。反轉,脫開耳板后,小蓋則可打開,大蓋上開有一個Φ30的孔,以便在加水過程中,使罐內的壓力與大氣壓力基本。 
5、取力器
與各車型相匹配的專用取力器,氣動操作或手動操作,操作開關向后拉,取力器進入嚙合位置,通過傳動軸帶動水泵工作,開關向前回位,水泵即停止工作。
6、水泵
自吸式葉輪泵系灑水車專用泵。該水泵的結構原理圖、使用維護保養,詳見《灑水車泵使用說明書》。
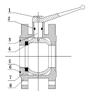
7、球閥

本車采用的閥門為球型閥門,結構。球閥由閥體調整座、密封環、球、閥桿手柄等部分組成,搬轉手柄 90°即可實現球閥的開關,球閥配合松緊可旋轉調整以達到要求。該灑水車裝有Φ50 不銹鋼球閥 7 只,供調節灑水之用。 Φ50 鋁合金球閥一只,圖中 4 以控制抽水或灑水,其抽水時打開,灑水時關閉。Φ65mm 消防球閥一只,可連接消防帶供應緊急滅火之用。

圖 2-5 球閥

(1)手柄(2)O 型密封圈(3)閥桿(4)球閥(5)O 型密封圈(6)密封(7)調整座(8)閥體
8、噴水器
本車前裝有鴨嘴形噴嘴或圓頭沖嘴,后面裝有圓柱形灑水砣,側噴花灑蓮花頭。車后部裝有高射噴槍。 噴水器一般用于沖洗街道,起除塵和降溫作用,其噴水器可以用調節噴嘴螺紋的方法改變噴水器的噴灑方向和角度,高射噴槍可以用于城鄉及應急消防車的作用。蓮蓬噴嘴可以澆落路中間噴水器沖起的灰塵,起到清潔空氣的作用。
9、管道布置簡圖:
圖 2-6管道布置簡圖

10、灑水車配件清單

灑水車配件清單

表 2-1:以上配置為常規配置,客戶對產品有特殊要求的可更改配置。
二、操作規程
1、使用前的準備工作
(1)檢查變速箱內潤滑油油面,以到油面螺塞孔的下緣為準,不足時添加齒輪油。
(2)檢查變速箱操縱桿,使之處于空檔位置,檢查取力箱操縱手柄位置,使之為水平向右位置,使之為水平向右位置,檢查油門控制器,使其為最小。
2、水泵及取力器的操作
(1)啟動 聯接好有關管道,啟動發動機,當原車壓力表讀數達到 0.3Mpa 時,踏離合踏板,打開取力箱操縱開關,慢慢松離合(過快會損壞取力器和變速箱),使之掛擋。通過油門控制器,可控制水泵的工作轉速。
(2)停止 將油門控制器推進,調整為最小,踏離合器踏板,將取力器操縱開關扳回至原位置,使取力箱脫檔。
3、使用后的檢查
(1)檢查取力器操縱開關是否回位,檢查油門控制器是否為最小位置。
(2)檢查閥門手柄位置,均為關閉狀態。
4、 各作業操縱使用說明
(1) 向罐內加水將車開到預訂位置,使水罐口對準自來水管口打開罐口蓋、自來水即可加水。
當在野外自采水的情況下,水能通過水泵給罐內供水,其操作程序是:在三通球閥 G 處接一膠管,調節三通球閥 G 到如圖位置(注意:三通球閥凹坑所對方向關閉),關閉不銹鋼球閥 A、B、C、D、E、F 和消防栓 I,打開鋁合金球閥 H,踏下離合,打開取力器開關,慢慢松開離合(千萬不可過快,否則將會損壞取力器或變速箱),使水泵開始工作,即可向罐內加水,停止工作后開關回位。工作水路示意:水經過三通球閥 G、過濾網、泵、鋁合金球閥 H、水罐。(其中 A、B、C、D、E、F、H 關閉)。
圖 3-1-1 水泵加水
圖 3-1-2 消防栓加水
工作水路示意:水經過消防栓開關 I、鋁合金球閥 H、水罐。(其中 A、B、C、D、E、F、G、H 關閉)。
(2)灑水、澆灌花木
在灑水和澆灌花木時,其操作程序是:調節三通球閥 G 到如圖位置(注意:三通球閥凹坑所對方向關閉),關閉鋁合金球閥 H 和消防栓 I,打開不銹鋼球閥 A、B、C、D、E,打開鋁合金球閥 H,踏下離合,打開取力器開關,慢慢松開離合(千萬不可過快,否則將會損壞取力器或變速箱),使水泵開始工作,即可向實現灑水和澆灌花木的功能,停止工作后開關回位。工作水路示意:水經過罐體出口、三通球閥 G、過濾網、泵、前沖后灑和花撒。(其中 H、 I 關閉)。
圖 3-2 灑水、澆灌花木
(3)應急消防
在應急消防時,其操作程序是:調節三通球閥 G 到如圖位置(注意:三通球閥凹坑所對方向關閉),關閉不銹鋼球閥 A、B、C、D、E 和鋁合金球閥 H,打開消防栓 I 和不銹鋼球閥 F,踏下離合,打開取力器開關,慢慢松開離合(千萬不可過快,否則將會損壞取力器或變速箱),使水泵開始工作,即可通過灑水炮和消防栓出口應急消防,停止工作后開關回位。工作水路示意:水經過水罐出口、三通球閥 G、過濾網、泵、消防栓和灑水炮。(其中 A、B、C、D、E、H 關閉)。
圖 3-3 應急消防
4)活動泵站
做活動泵站時,其操作程序是:在三通球閥 G 處接一膠管,調節三通球閥 G 到如圖位置(注意:三通球閥凹坑所對方向關閉),關閉不銹鋼球閥 A、B、C、D、E、F 和鋁合金球閥H,打開消防栓 I,接出口管。踏下離合,打開取力器開關,慢慢松開離合(千萬不可過快,否則將會損壞取力器或變速箱),使水泵開始工作,即可實現活動泵站的功能,停止工作后開關回位。工作水路示意:水經過三通球閥 G、過濾網、泵、消防栓 I。(其中 A、B、C、D、E、F、 H 關閉)。
圖 3-4 活動泵站
三、故障及排除方法
表 3-1故障及排除方法
四、灑水車的保養
1、根據涂料的使用要求,新產品使用前,應將灌內注滿水浸泡五天后放凈,再用水沖洗涂層表面,然后再用水沖洗涂層表面,然后再注滿水靜觀兩天后,將水放掉即可盛裝飲用水了。
2、經常檢查水路系統的聯接件,開關及吸水膠管等部件部位的密封情況,如發現滲漏應即恢復或更換密封件。
3、經常檢查水罐、泵架、支架的固定情況,所有螺母應旋緊,保證聯接緊固可靠。
4、經常檢查取力器與水泵的聯接情況,應聯接可靠,運轉正常,使用中若發現取力器和水泵漏油,應更換密封件。
5、整車水路系統無防凍裝置,因此嚴寒地區,氣溫攝氏度以下使用后,應立即將水泵、水罐及水路系統中的積水全部放凈,注意水泵放水螺塞放水后應關閉嚴密,確保密封,否則將影響水泵吸水。
6、罐體上的油漆不得粘上汽油和煤油,因為這樣會使油漆加速損壞。按期檢查罐體上的油漆質量,當油漆損壞時,就及時補漆,以防罐體產生銹蝕。
7、汽車底盤和發動機部分的使用與保養詳見載貨汽車使用說明書。
8、球閥通過的介質不宜過臟,以免傷害密封環,降低環閥使用壽命,各球閥不宜長期處于半開狀態下工作,否則易使密封環變形。
9、進泵濾網應經常拆洗,以防渣滓堵塞濾網,影響流量。
10、由于罐體與汽車大梁之間墊有木膠墊,水罐載重后各 U 型螺栓由于木膠的變形會發生松動,因此在車重載后,必須定期擰緊 U 形螺栓,尤其是新車使用時必須做到這點。
五、售后服務
1、當您需要咨詢或維修時,請與我廠售后服務部聯系,并將購車憑證妥善保管,以確認該車在保修期內。
2、底盤車的售后服務工作由底盤車廠家負責;本廠僅對車輛的專用改裝部分實行“三包”,在使用過程中,無論何時何地出現故障或問題,請來電、來函聯系,我們將及時給予處理,在接到信息 24 小時內給予明確答復。
3、新車應按規定進行走合保養,方可享受“三包”
(1)三包內容及期限:
a、車輛自購車之日起(以購車發票為準)一年和行駛里程 3000 公里以內(兩個條件需同時具備)可享受“三包”;
b、車輛自售出之日起十日內整車實行全包(以售后服務卡所填寫的日期為準),即所有零部件因制造質量造成零部件損壞或不能滿足整機使用性能要求的,我廠實行“三包”;
c、“三包”期內確因質量原因造成故障,我公司實行包修;
d、“三包”期內總成件出現質量問題,經公司和配套單位及維修服務網點點連續兩次以上修理(指同一故障)仍達不到技術性能而無法使用,該總成或部件予以更換。
(2)以下各項不屬于“三包”范圍:
a、不按本車規定,未進行強制性走合期保養的車輛;
b、非正常使用和自行改變車輛結構所造成故障的車輛;
c、交通肇事車輛(含無證駕駛、違章肇事車輛);
d、未經公司同意,自行拆裝或調整不當造成故障的車輛;
e、未經公司同意擅自將總成或部件拆卸成零件,且無法辯認產地和無法確認責任及原因分析的車輛;
f、未經公司同意或鑒定自行處理的事故車輛;
g、因調整不當或未進行檢查調整而使用造成故障的車輛;
h、低值易耗、易損件(如電器、玻璃、橡膠、塑料制品件等);各類標件、軸承。 
4、不屬于“三包”范圍的車輛,我公司本著對用戶負責,提供方便給予維修服務,但應適當收取費用。
5、您對本廠該產品或其他產品的合理化建議,請向我今后服務部提出,以便本廠及時采納,本廠全體員工向您表示最誠摯的謝意!
六、隨車附件明細
1、底盤合格證一份。
2、整車合格證一份。
3、環保清單一份。
4、三包手冊。
5、灑水車說明書一本。
6、隨車工具。
程力灑水車操作使用咨詢電話:

159-7276-7978

推薦產品

免費電話 聯系我們 最新配置資料獲取